Болт на ремонт: BMW запатентовала винты в виде своего логотипа

© Artiom Vallat, Unsplash.com
Компания намерена таким образом обезопасить своих клиентов, однако автовладельцы скептически относятся к идее BMW.
Немецкий автопроизводитель подал патент на болты для своих машин в виде логотипа.
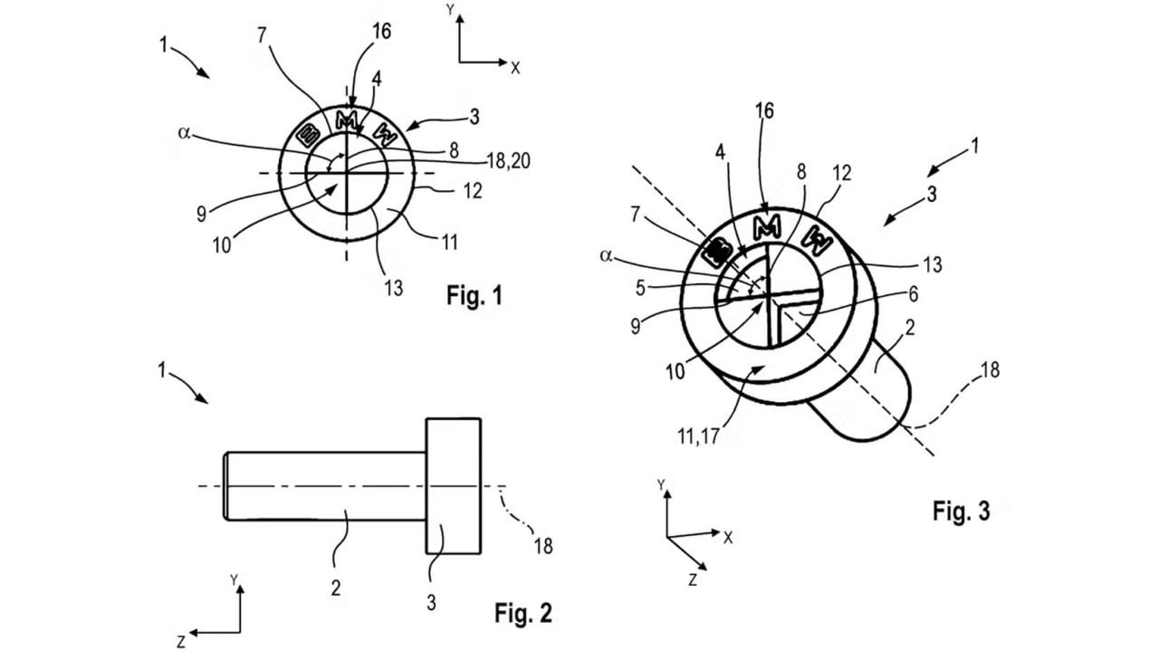
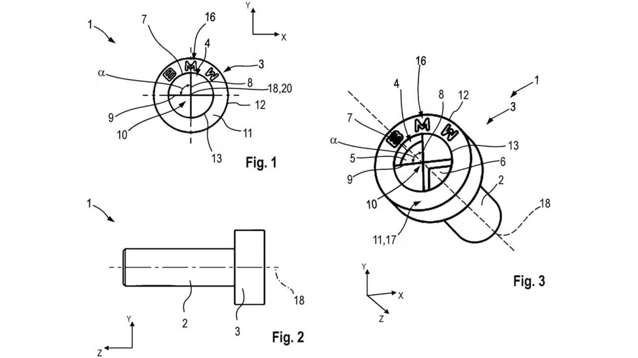
Как говорится на сайте патентного бюро, инновация призвана защитить конструкции автомобилей BMW. Компания поясняет, что классические болты широко распространены, а это значит, что они могут быть легко ослаблены или затянуты третьими лицами.
Стандартный инструмент не будет подходить, а значит независимые автосервисы не смогут проводить ремонт. Как подмечают эксперты, доступ к креплениям в салоне и ключевых узлах вроде сидений и элементов кузова фактически получают только официальные дилеры.

© Patentscope
Таким образом у владельцев BMW пропадет возможность проводить ремонт своими руками. Автопроизводители часто патентуют подобные технические решения, однако очень редко они добираются до сборочных линий.
Будет ли BMW использовать винты в виде своего логотипа – покажет время.

