BMW отзывает более полумиллиона машин из-за угрозы возгорания

Автомобиль BMW. © azerbaijan_stockers, Freepik.com
Только в Германии намерены вернуть на заводы почти 30 тыс. экземпляров авто.
Автоконцерн BMW инициировал глобальную отзывную кампанию, охватывающую несколько сотен тысяч автомобилей.
Причина – выявленный дефект, способный привести к короткому замыканию и последующему возгоранию при запуске двигателя.
Как сообщает Bild, только в Германии отзыву подлежат 28 582 машины. В мировом масштабе речь идет более чем о полумиллионе автомобилей. Специализированное издание kfz-Betrieb уточняет цифру – около 575 тыс. единиц. В BMW пока официально не подтвердили итоговое количество.
Под кампанию попадают популярные модели: BMW 2 серии Coupe, различные модификации 3-й, 4-й и 5-й серий, 6-я серия Gran Turismo, 7-я Limousine, а также кроссоверы и внедорожники X4, X5, X6 и родстер Z4.
Владельцам рекомендовано следить за официальными уведомлениями и оперативно посещать сервисные центры для устранения неисправности.
Болт на ремонт
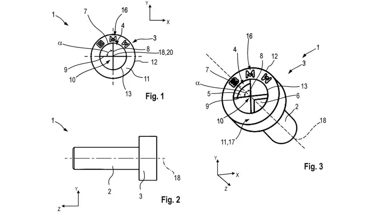
Как ранее писал Times.by, BMW подал патент на болты для своих машин в виде логотипа.
Как говорится на сайте патентного бюро, инновация призвана защитить конструкции автомобилей BMW. Компания поясняет, что классические болты широко распространены, а это значит, что они могут быть легко ослаблены или затянуты третьими лицами.

© Patentscope
Стандартный инструмент не будет подходить, а значит независимые автосервисы не смогут проводить ремонт. Как подмечают эксперты, доступ к креплениям в салоне и ключевых узлах вроде сидений и элементов кузова фактически получают только официальные дилеры.
Таким образом у владельцев BMW пропадет возможность проводить ремонт своими руками. Автопроизводители часто патентуют подобные технические решения, однако очень редко они добираются до сборочных линий.
Будет ли BMW использовать винты в виде своего логотипа – покажет время.

